INDUSTRY
Typ 06C02
|
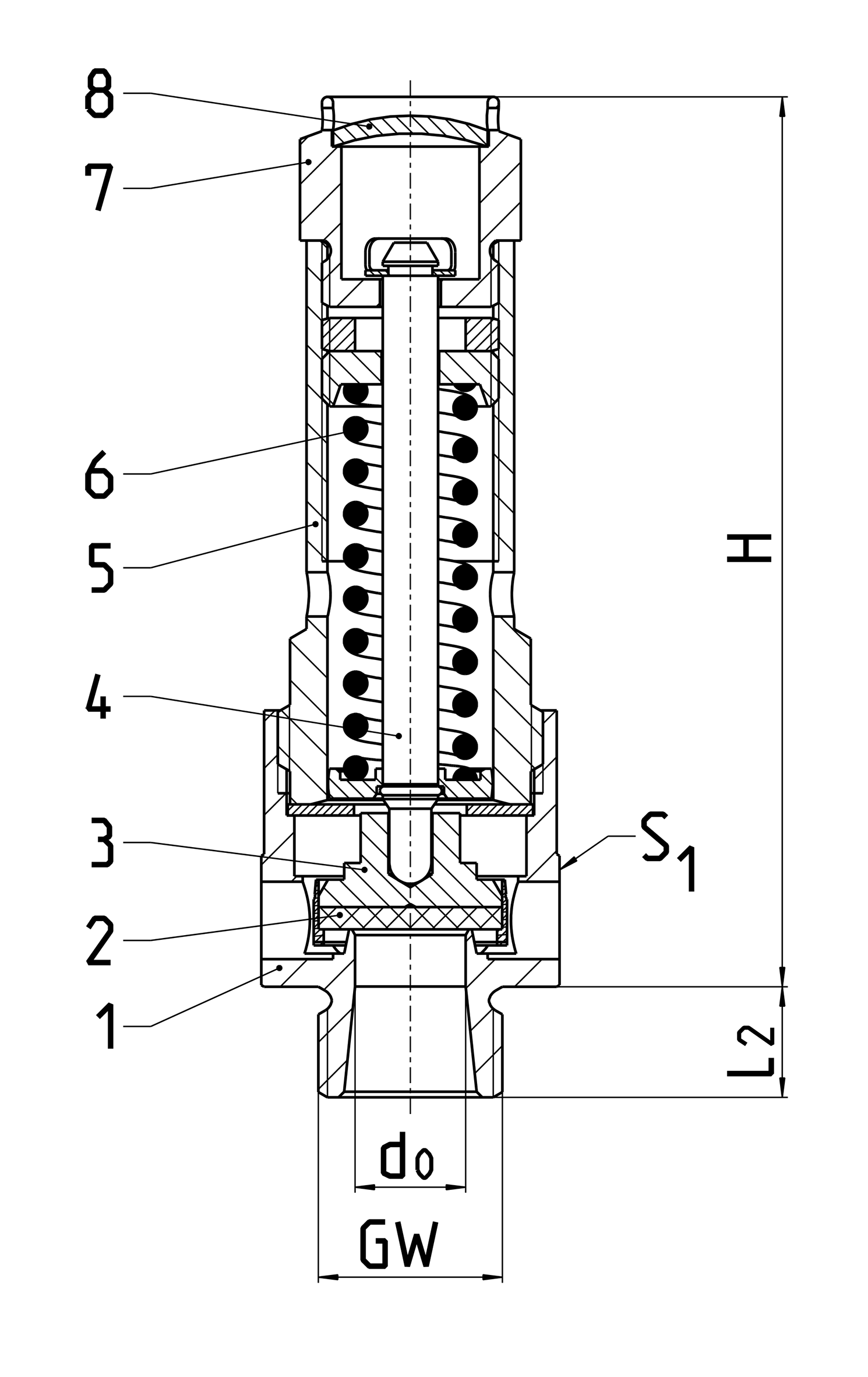
Sicherheitsventile aus Messing oder Edelstahl, bauteilgeprüft TÜV-SV.1090 D/G Normal-Sicherheitsventil Abschlusskörper mit FPM-Dichtung, offene Federhaube frei abblasend, mit Anlüftvorrichtung Eintritt: Außengewinde Typ G nach ISO 228/1 Artikel-Nr. 06C02.A001.X - Messing Artikel-Nr. 06C02.A002.X - Edelstahl Sonderausführungen auf Anfrage: - Eintritt NPT Außengewinde - EPDM Kegeldichtung (-40°C bis +150°C) Verwendungsbereich: Vorgesehen als Sicherheitseinrichtung gegen unzulässige Drucküberschreitungen für ortsfeste und bewegliche Druckbehälter und Druckgasbehälter. Zugelassen für Luft und ähnliche Gase. Zulässige Betriebstemperatur mit FPM-Dichtung: -20°C (253K) bis +160°C (433K) |
![]() |
|||||||||||||||||||||||||||||||||||||||||||||||||||||||||||||||||||||||||
|
![]() |
|||||||||||||||||||||||||||||||||||||||||||||||||||||||||||||||||||||||||
|
|
| Typ 06C02 | Technische Daten | ||||||||
| Nenngröße | GW | 1/4 | 3/8 | 1/2 | 3/8 | 1/2 | 3/4 | 3/4 | 1 |
| Sitzdurchmesser | d0 | 8 | 8 | 8 | 10 | 10 | 10 | 15 | 18 |
| Ansprechdruck | bar | 0,2-50 | 0,2-50 | 0,2-50 | 0,2-42 | 0,2-42 | 0,2-42 | 0,2-16 | 0,2-20 |
| Höhe | H | 78 | 78 | 78 | 81 | 81 | 81 | 92 | 110 |
| Länge | L2 | 10 | 10 | 12 | 10 | 12 | 15 | 15 | 18 |
| Schlüsselweite | S1 | 21 | 21 | 27 | 27 | 27 | 32 | 32 | 41 |
| Gewicht | ca. kg | 0,14 | 0,15 | 0,18 | 0,18 | 0,20 | 0,25 | 0,31 | 0,53 |
| Ausflussziffer ab 3,0 bar* | αw | 0,70 | 0,70 | 0,70 | 0,61 | 0,61 | 0,61 | 0,60 | 0,60 |
| Abmessungen in mm. * Unter 3 bar kann die Ausflussziffer geringer sein. Bitte die Leistungstabelle beachten. |
|
Leistungstabelle Berechnung entsprechend AD2000-Merkblatt A2 Medium: Luft in m³/h in Normzustand bei 0°C und 1013,25 mbar Die Leistung ist bei voll geöffnetem Ventil angegeben. d0 - Sitzdurchmesser A0 - engster Strömungsquerschnitt
| |||||||||||||||||||||||||||||||||||||||||||||||||||||||||||||||||||||||||||||||||||||||||||||||||||||||||||||||||||||||||||||||||||||||||||||||||||||||||||||||||||||||||||||||||||||||||||||||||||||||||||||||||||||


