CRYOGENIC
Typ 11C01 - Absperrventil FullX
|
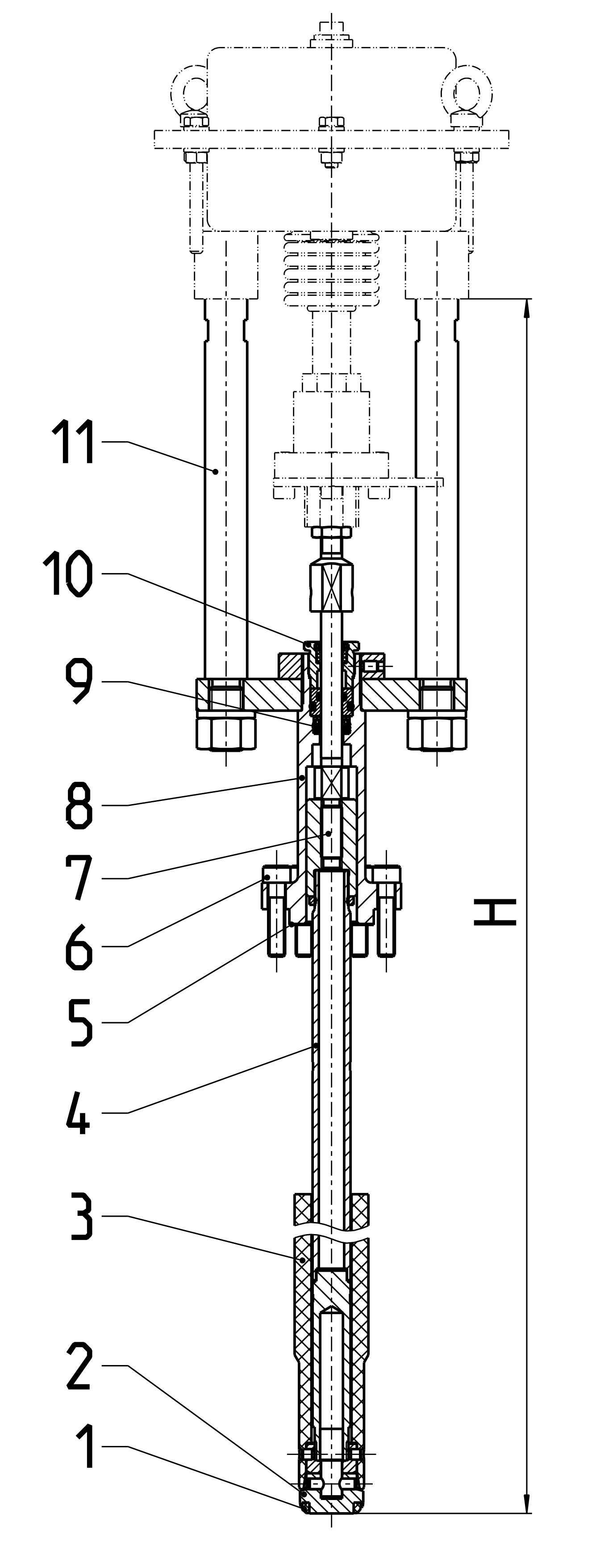
für Top-Entry Tieftemperatur-Absperrventile - ohne Faltenbalg "öl- und fettfrei für Sauerstoff" Artikel-Nr. 11C01.X.E0030X mit Antrieb-Membran passend zu:
|
![]() |
|||||||||||||||||||||||||||||||||||||||||||||||||
|
![]() |
|||||||||||||||||||||||||||||||||||||||||||||||||
| Typ 11C01 | Technische Daten | |||||||
| Nenngröße | DN | 10 | 15 | 20 | 25 | 32 | 40 | 50 |
| Größenschlüssel | .X. | 001X | 001X | 002X | 002X | 3240 | 3240 | 0050 |
| Höhe | H | 675 | 675 | 676 | 676 | 796 | 796 | 896 |
| Handrad-Ø | B | 100 | 100 | 100 | 100 | 125 | 125 | 125 |
| Gewicht | ca. kg | 3,5 | 3,5 | 3,6 | 3,6 | 8,7 | 8,7 | 11,3 |
| Abmessungen in mm. |
|
für Top-Entry Tieftemperatur-Absperrventile - Faltenbalg oben "öl- und fettfrei für Sauerstoff" Artikel-Nr. 11C01.X.E0030X mit Antrieb-Membran passend zu:
|
![]() |
|||||||||||||||||||||||||||||||||||||||||||||||||
|
![]() |
|||||||||||||||||||||||||||||||||||||||||||||||||
| Typ 11C01 | Technische Daten | |||||||
| Nenngröße | DN | 10 | 15 | 20 | 25 | 32 | 40 | 50 |
| Größenschlüssel | .X. | 001X | 001X | 002X | 002X | 3240 | 3240 | 0050 |
| Höhe | H | 640 | 640 | 640 | 640 | 797 | 797 | 897 |
| Handrad-Ø | B | 100 | 100 | 100 | 100 | 125 | 125 | 125 |
| Gewicht | ca. kg | 3,6 | 3,6 | 3,7 | 3,7 | 9,1 | 9,1 | 11,7 |
| Abmessungen in mm. |




