CRYOGENIC
Type 11C01 - Globe Valve FullX
 
 
	| 
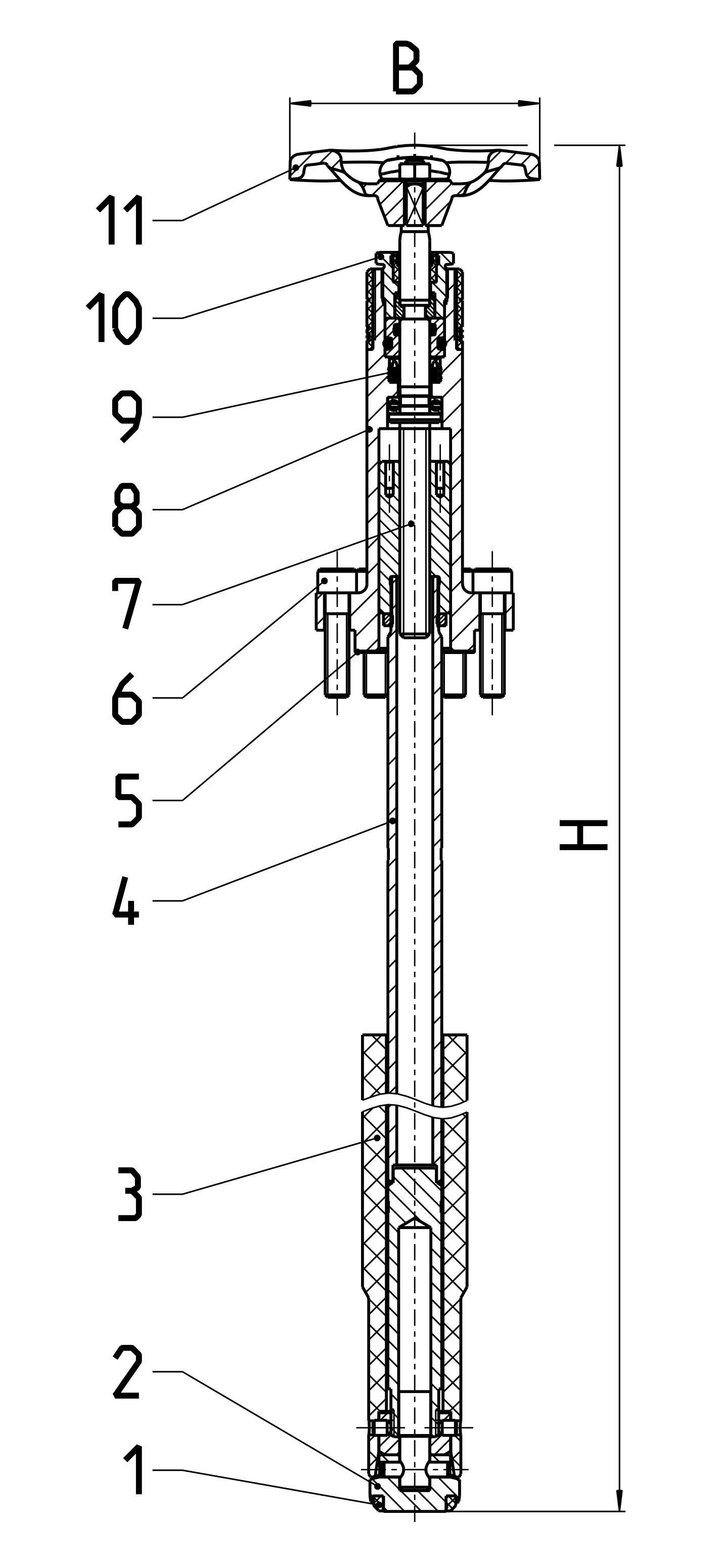
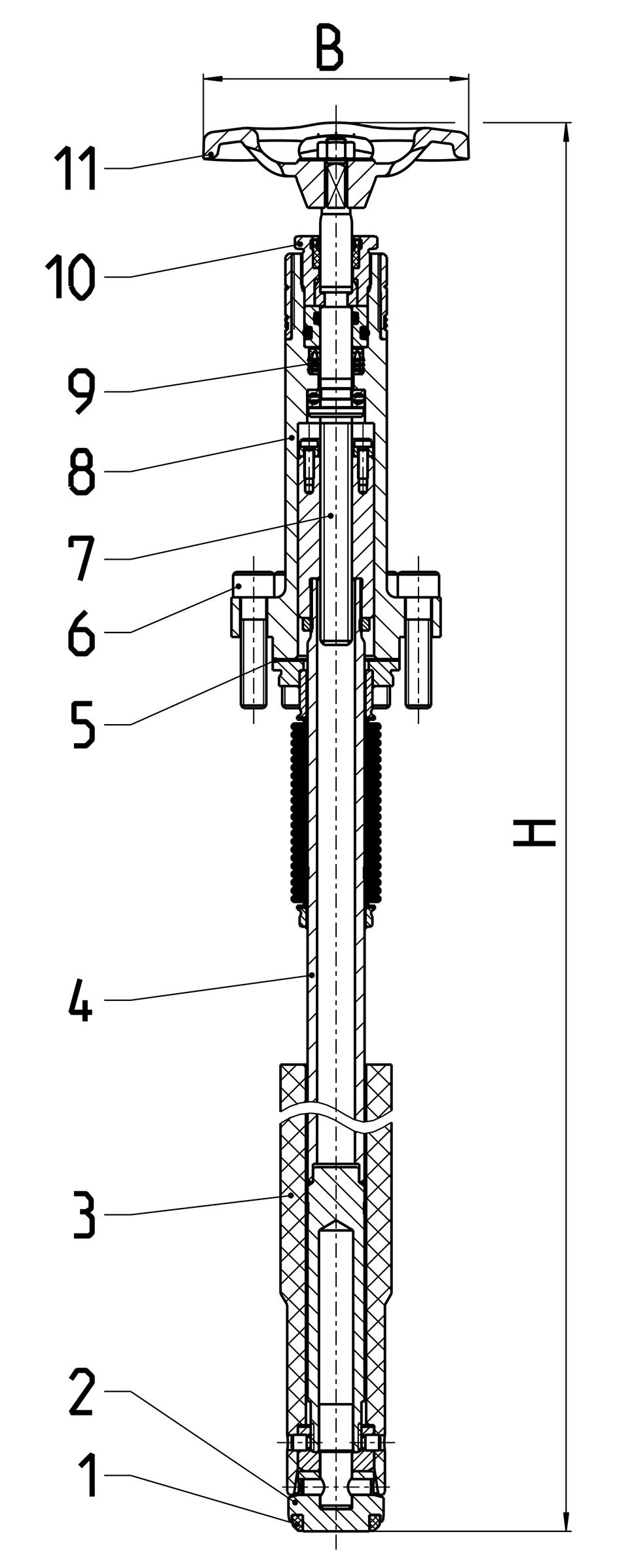
Top-Entry Cryogenic-Globe Valves - Bellow in top position "cleaned and degreased for oxygen service" Part No. 11C01.X.E00301 - manual Part No. 11C01.X.E00302 - actuator (diaphragm) Part No. 11C01.X.E00303 - bare shaft (connection to Fisher actuator) suitable for: 
  | 
![]()  | 
|||||||||||||||||||||||||||||||||||||||||||||||||||||
  | 
![]()  | 
|||||||||||||||||||||||||||||||||||||||||||||||||||||
| Type 11C01 | Technical data | |||||||
| Nominal size | DN | 10 | 15 | 20 | 25 | 32 | 40 | 50 | 
| Dimension code | .X. | 001X | 001X | 002X | 002X | 3240 | 3240 | 0050 | 
| Height | H | Variant-dependent | ||||||
| Handwheel-Ø | B | 100 | 100 | 100 | 100 | 125 | 125 | 125 | 
| Weight | ca. kg | Variant-dependent | ||||||
| Dimensions in mm. | 


