CRYOGENIC
Type 11C01 - Globe Valve FullX
|
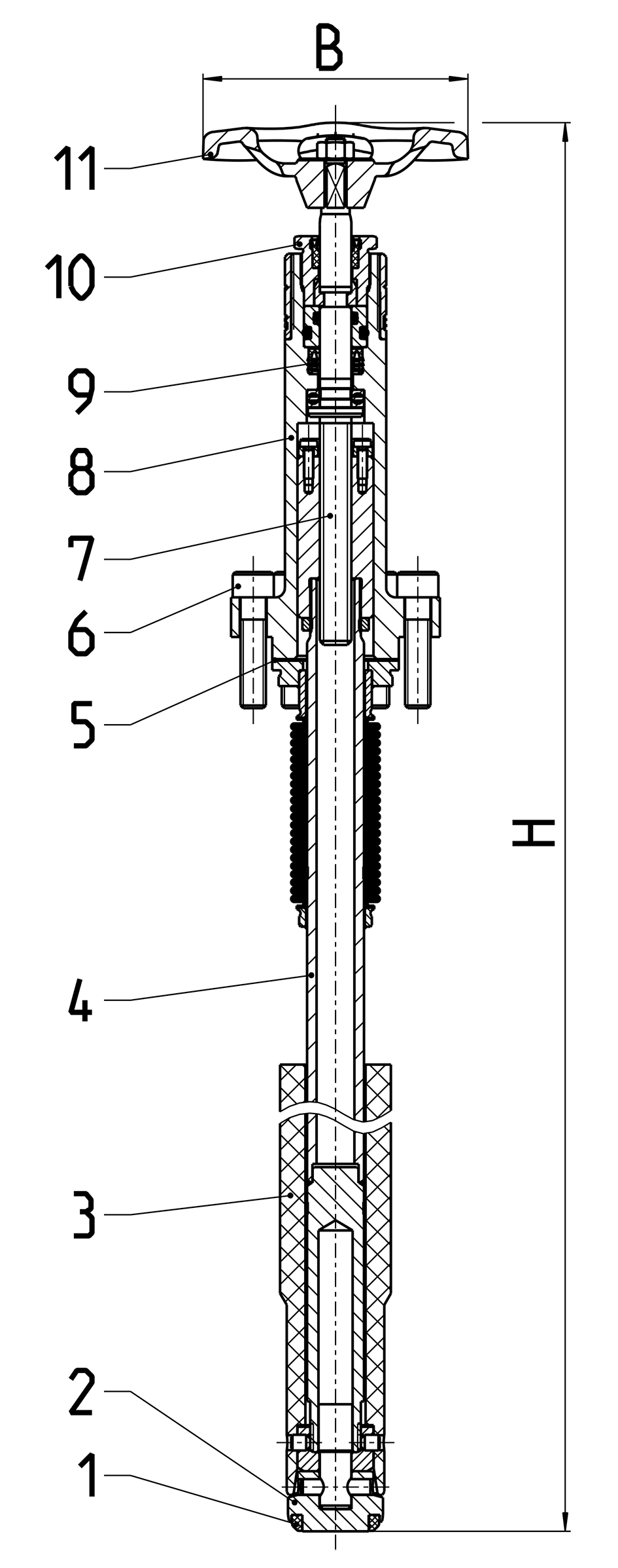
Top-Entry Cryogenic-Globe Valves - w/o bellows "cleaned and degreased for oxygen service" Part No. 11C01.X.E0030X - manual suitable for:
|
![]() |
|||||||||||||||||||||||||||||||||||||||||||||||||
|
![]() |
|||||||||||||||||||||||||||||||||||||||||||||||||
| Type 11C01 | Technical data | |||||||
| Nominal size | DN | 10 | 15 | 20 | 25 | 32 | 40 | 50 |
| Dimension code | .X. | 001X | 001X | 002X | 002X | 3240 | 3240 | 0050 |
| Height | H | 529 | 529 | 529 | 529 | 688 | 688 | 762 |
| Handwheel-Ø | B | 100 | 100 | 100 | 100 | 125 | 125 | 125 |
| Weight | ca. kg | 2.0 | 2.0 | 2.1 | 2.1 | 7.3 | 7.3 | 9.8 |
| Dimensions in mm. |
|
Top-Entry Cryogenic-Globe Valves - Bellow in top position "cleaned and degreased for oxygen service" Part No. 11C01.X.E00301 - manual suitable for:
|
![]() |
|||||||||||||||||||||||||||||||||||||||||||||||||
|
![]() |
|||||||||||||||||||||||||||||||||||||||||||||||||
| Type 11C01 | Technical data | |||||||
| Nominal size | DN | 10 | 15 | 20 | 25 | 32 | 40 | 50 |
| Dimension code | .X. | 001X | 001X | 002X | 002X | 3240 | 3240 | 0050 |
| Height | H | 529 | 529 | 529 | 529 | 677 | 677 | 762 |
| Handwheel-Ø | B | 100 | 100 | 100 | 100 | 125 | 125 | 125 |
| Weight | ca. kg | 2.1 | 2.1 | 2.3 | 2.3 | 5.1 | 5.1 | 10.3 |
| Dimensions in mm. |




